Xiaomi patenta una versión de un móvil con pantalla envolvente
En 2019, Xiaomi logró sorprender con la presentación del Mi Mix Alpha, el primer teléfono inteligente del mundo con una pantalla envolvente: la pantalla cubre toda la parte frontal, trasera y dos lados del dispositivo. El denominado Surround Display solo se interrumpió en la parte trasera por un marco vertical, en el que se incorpora el sistema de triple cámara.
A comienzos de 2021 se informó sobre un teléfono inteligente Xiaomi similar, con una cámara emergente. Gracias al uso de esta cámara emergente, se puede omitir el marco vertical en la parte posterior, de modo que todo el dispositivo cubra la superficie de la pantalla, excepto la parte superior e inferior.
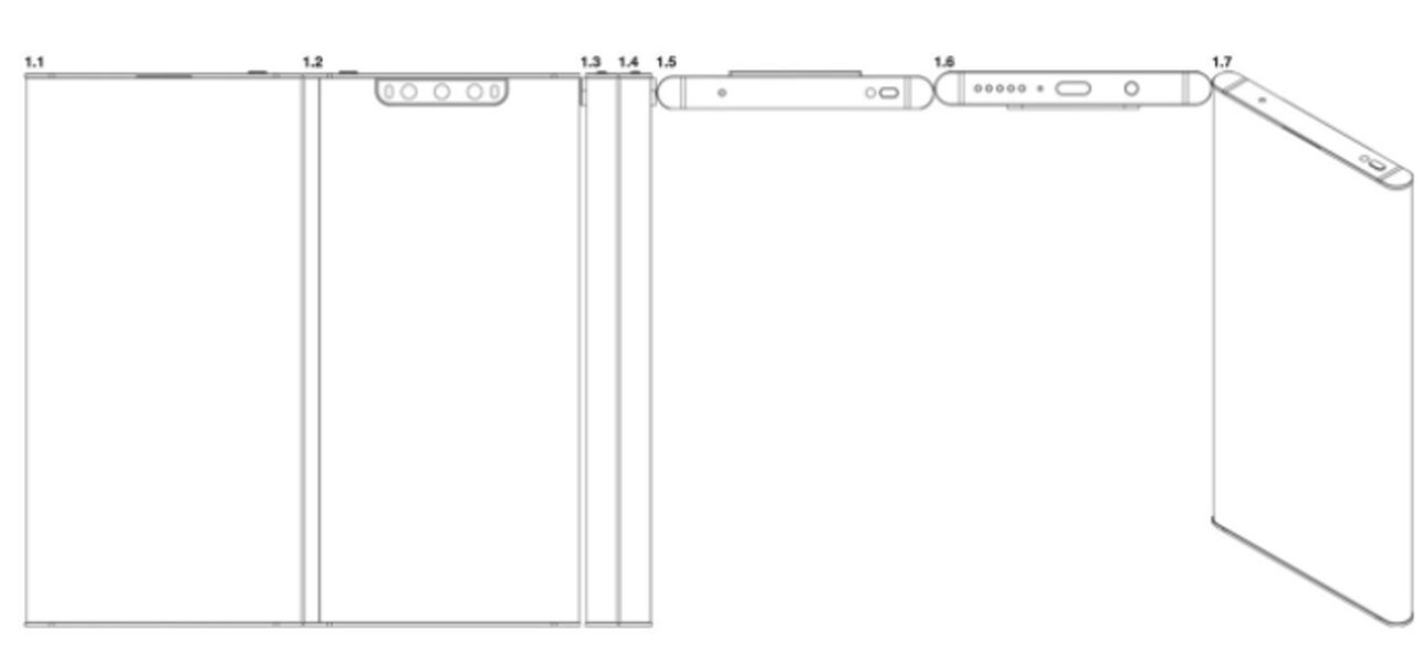
Esta vez, Xiaomi presentó una nueva patente, solicitada en julio de 2020 por Beijing Xiaomi Mobile Software. El 8 de enero de 2021, la patente fue otorgada por el Sistema de Diseño Internacional de La Haya, parte de la OMPI (Oficina Mundial de Propiedad Intelectual). La documentación resumida consta de ocho bocetos de productos y dos versiones oficiales de productos, que muestran en color el teléfono inteligente.
El diseño es básicamente el mismo que el del Mi Mix Alpha con cámara emergente. Incluso el fondo de pantalla que se muestra es idéntico. Por cierto, la nueva patente se solicitó tres semanas más tarde que la de la cámara emergente. En lugar de una cámara retráctil, Xiaomi opta por una muesca amplia esta vez.
La muesca en la parte superior de la pantalla ofrece espacio para tres cámaras y un flash doble y la configuración es similar a la del sistema emergente. Lo mismo se aplica a todas las conexiones y botones, incluido el conector para auriculares de 3,5 mm, en la parte inferior.
En la imagen se aprecia el modelo con cámara emergente como "Model 1" y la nueva variante con muesca es "Model 2”.

No sabemos si esperar un nuevo modelo Xiaomi Mi Mix Alpha y cuándo. Lo que sí está claro es que el fabricante chino sigue sin parar con su proyecto de móvil inteligente Surround Display. Seguramente tendremos novedades durante 2021.
Esta es la patente del teléfono inteligente con pantalla envolvente Xiaomi con muesca.

