Este nuevo iMac futurista podría utilizar tu pared como una segunda pantalla
Mientras todos nos preguntamos cuándo llegará una actualización de chip al iMac actual, Apple está trabajando en posibles nuevas características que podríamos ver en el futuro. Patently Apple informa que a Apple se le ha otorgado una nueva patente para una función que permitiría que el iMac proyecte una imagen en una pared, escritorio u otra superficie.
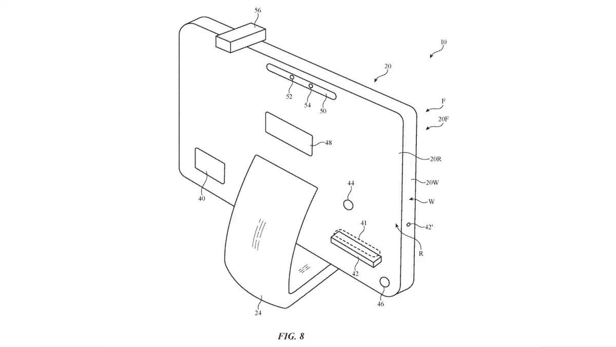
La patente US-11630485-B2 se titula "Estructuras de alojamiento y dispositivos de entrada y salida para dispositivos electrónicos" y Paul X. Wang y Joshua P. Song figuran como los inventores. El resumen de la patente describe una "pared trasera de la carcasa que puede tener una porción de vidrio u otra estructura transparente a través de la cual los proyectores proyectan imágenes en superficies cercanas" y que también podría haber sensores que reciban luz, posiblemente para conexiones inalámbricas.
La patente también establece que el iMac incluiría "sensores de detección de mirada, sensores de imagen tridimensional, cámaras y otros componentes", que suenan como los sensores necesarios para Face ID.
-
Te puede interesar
Samsung promete reparaciones gratuitas si cumple tan solo este requisito
Otro componente descrito en la solicitud de patente es el soporte, que tendría una "parte de planificador de vidrio" y albergaría "una matriz de píxeles, un circuito de comunicaciones inalámbricas y un circuito de alimentación inalámbrico".
Aunque la patente no establece explícitamente que las funciones descritas son para un iMac, los diagramas y las descripciones parecen encajar, y la patente se refiere a una "computadora" en su resumen. Posiblemente, una pantalla de Apple puede equiparse con las características descritas.
Digamos que Apple lanza un iMac que puede proyectar una imagen. ¿Para qué? Se puede usar para reuniones en línea y llamadas FaceTime. El iMac a menudo se usa como televisor en habitaciones pequeñas, por lo que se puede usar en un centro de entretenimiento en una habitación más grande. Apple también podría promocionarlo como una función de juego, aunque los jugadores argumentarían que el rendimiento de la GPU y la biblioteca disponible son los problemas, no la pantalla.
Apple presenta patentes con frecuencia y muchos de los productos y características de los archivos de Apple nunca se hacen públicos. Sin embargo, esta patente del proyector iMac parece más factible muchas patentes anteriores, por lo cual es muy probable que pueda llegar al mercado en algún futuro. Si nos ponemos a analizar, ya se está por lanzar el auricular de realidad mixta de la compañía, algo que parecía poco probable en su momento.



