Huawei prueba un sistema que simula una parte sensible de nuestro cuerpo
La prohibición de EEUU completará tres años en mayo de 2021 y trajo muchos impactos en Huawei. La víctima más reciente fue la división de conjuntos de chips HiSillicon de la empresa, que trajo tantos conjuntos de chips potentes con tecnología de punta. La empresa no puede utilizar tecnología de propiedad estadounidense y TSMC, el proveedor de chips, tiene tecnología relacionada con Estados Unidos.
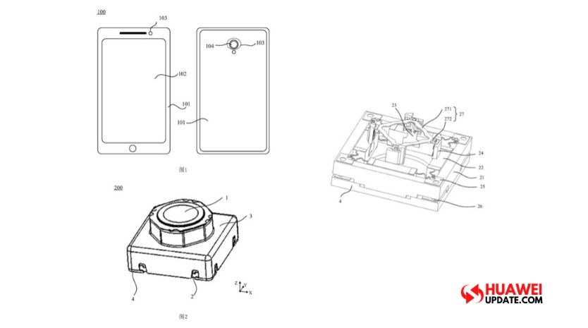
Durante el próximo año, la empresa intentará lanzar dispositivos con chipsets con licencia de terceros, mientras espera llegar a un acuerdo con la futura administración de Biden. A pesar de todos los problemas a los que se enfrenta la marca, no mantiene la innovación tecnológica. Según un informe, Huawei se encuentra en la etapa final de prueba de soluciones de lentes líquidas para sus cámaras. Podría hacer su debut con el Huawei P50 del próximo año.
Se espera que la llamada tecnología de lentes líquidas aumente las capacidades de estabilización de imagen de las cámaras Huawei. Además, reducirá en gran medida los tiempos de enfoque. Con la llegada de un sensor más grande, el enfoque automático puede ser un problema si no se combina con una solución capaz.
Según el informe, con la nueva tecnología, el tiempo de enfoque se reducirá a un par de milisegundos coincidiendo con el tiempo de enfoque del ojo humano. No hace mucho, Samsung prometió traer cámaras que pueden rivalizar con los ojos humanos, aparentemente, Huawei está tomando la delantera en esta tecnología.
La nueva solución de lente líquida se utilizará primero para la cámara de teléfono. Por lo tanto, en lugar de mover las lentes, el módulo cambiará la forma del líquido al variar el voltaje. Se enfocará en la luz y mejorará la imagen. Cabe destacar que la solución también será más duradera y resistente a los golpes. Será mucho mejor que las soluciones de enfoque actuales.


