Con su próximo lanzamiento AMD se burlará de la tecnología GPU y aplastaría a NVIDIA
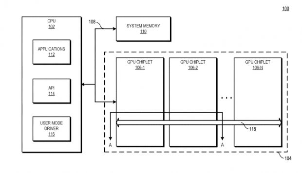
La patente de AMD muestra el diseño de chip modular MCM, la GPU utilizará un paquete de múltiples núcleos. De acuerdo con una publicación muy precisa del sitio tweaktown.com/news.
AMD presentó una solicitud de patente a la Oficina de Patentes y Marcas Registradas de EE. UU el 31 de diciembre de 2020, mostrando un nuevo método de diseño de GPU modular. La patente de AMD muestra el diseño de chip modular MCM, la GPU utilizará un paquete de múltiples núcleos
Según esta patente, la nueva GPU adoptará un diseño modular de múltiples chips MCM. Cada chip GPU tendrá un área dedicada responsable de la conexión pasiva con núcleos adyacentes. Al mismo tiempo, la comunicación con la CPU se entregará al primer chip GPU por separado. . Los cuatro chips GPU se empaquetarán en la capa intermedia del mismo sustrato de PCB Este diseño es similar a los chips SoC e integra muchos núcleos con diferentes funciones.
AMD dijo que el diseño de GPU tradicional tiene deficiencias inherentes, las tareas de carga paralela son difíciles de distribuir entre diferentes chips de GPU, la eficiencia de acceso a la memoria también es muy baja, es difícil mantener la sincronización. Además, la mayoría de los programas solo están diseñados para una sola GPU cuando están escritos, y el fuego cruzado de múltiples gráficos se puede mejorar relativamente pequeño.
Además, el área de los chips de GPU es cada vez más grande, lo que genera altos costos de fabricación. Por lo tanto, esta patente puede permitir que varios chips de núcleo de GPU se comuniquen mejor mientras se reducen los costos de fabricación.
Con respecto al tema de la sincronización de la memoria, AMD declaró que aunque cada chip de GPU tiene una caché de último nivel independiente, el método de acoplamiento de la patente permite que todos los chips pequeños se ejecuten simultáneamente. Dado que solo se necesita el primer chip GPU para comunicarse con la CPU, desde la perspectiva del sistema operativo y la CPU, todavía funciona como una GPU.


Según IT Home, esta hoja de ruta muestra los planes de AMD. Se puede ver que la solución MCM integrará cuatro chips GPU, y el chip pequeño tendrá un canal dedicado para comunicarse con otros chips. El próximo objetivo de AMD es utilizar tecnología modular para fabricar CPU, es decir, fabricar chips de E / S y unidades de computación de CPU por separado, y empaquetar chips de diferentes procesos juntos.
Aunque tanto Nvidia como Intel lanzarán sus propias soluciones de múltiples chips MCM en el futuro, AMD obviamente ha realizado muchas pruebas y acumulado experiencia en las CPU Ryzen anteriores. Videocardz de medios extranjeros dijo que se espera que AMD utilice esta tecnología en tarjetas gráficas de arquitectura RDNA3 +.




