iPhone: ¡Se filtró la patente que pidió Apple para sus próximos modelos plegables!
Un iPhone plegable está potencialmente en las vísperas de concretarse, o al menos eso podemos deducir basándonos en la avalancha de patentes que Apple ha obtenido durante los últimos años, aunque sabemos muy poco sobre qué esperar en términos de diseño.
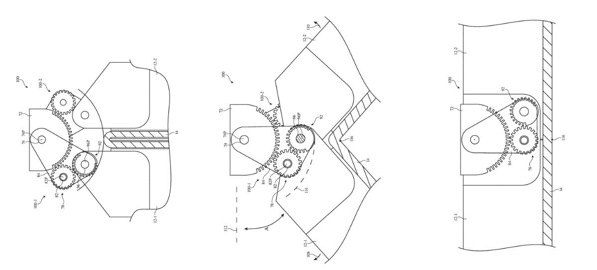
¿Un iPhone usaría una pantalla flexible o bisagras especiales para lograr la capacidad de plegado que hemos visto en otros dispositivos? Parece que esto es cada vez más posible, ya que un conjunto especial de bisagras con engranajes podría permitir que un iPhone se pliegue de dos formas diferentes, según AppleInsider , que informa sobre una solicitud de patente descubierta recientemente para "Dispositivos electrónicos plegables con bisagras con engranajes".
-
Te puede interesar
Llega Xiaomi MOS, una nueva tecnología que revolucionará la fotografía
Presentada en abril de 2020, la patente describe un "dispositivo electrónico" con una pantalla plegable. Esto constituye una pantalla con sus "primera y segunda porciones" unidas usando una bisagra que se puede plegar "hacia adentro y / o hacia afuera alrededor de un eje de curvatura".
Una ilustración adjunta (arriba) revela cómo se vería la bisagra con engranajes cuando se pliega o se despliega. La idea es garantizar que el iPhone siga siendo portátil, independientemente del tipo de pliegue que se utilice. No está claro qué tipo de pantalla imagina Apple, pero la patente sugiere que podría ser OLED, un micro-LED o "cualquier otra pantalla adecuada", señala AppleInsider.




